据网上房地产官方公布消息,七批次位于青浦徐泾的【招商虹桥璀璨时代】、浦东金桥的【宝地·东郊四季】和【浦开江南里】即将开启认购,三盘共推出652套房源,总价约567万起。
此外,六批次位于青浦徐泾的【俊灿星城】也将于11月26日开启认购,此次推出627套建面约72-137平方米的公寓。

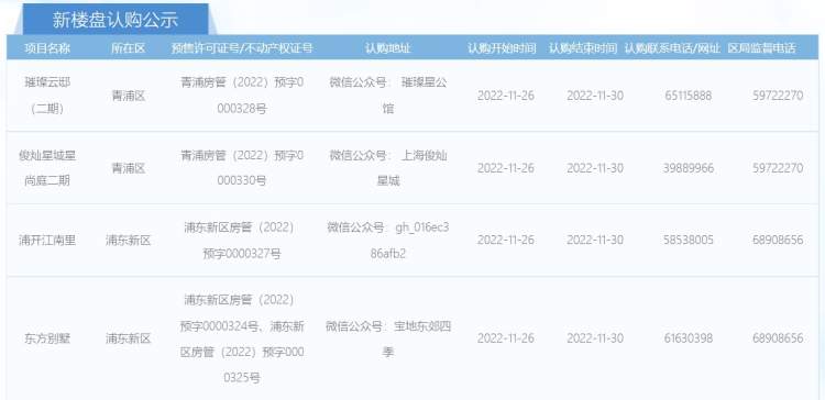
【俊灿星城】(项目名:俊灿星城星尚庭(二期))
认购时间:2022年11月26日-11月30日
区域、板块:青浦徐泾
户型:72-137平方米公寓
套数:627
均价:63000元/平方米
交通方面,项目交通出行三横三纵,立体自驾交通网络。同时,门口有多条公交线路,7站直达徐泾东站,约8分钟一班。
商业方面,项目对面是约5万方的虹桥食尚天地,永业购物中心,夏都小镇,家乐福。1.5公里范围内有首位奥特莱斯,兰韵文化中心,美国百老汇歌剧院等大型商业购物中心。
教育方面,项目周边有徐泾幼儿园(一级幼儿园)、徐泾中小学(全国示范学校)、私立学校:德国学校,青浦世外等。(实际学区划分以官方公布为准)
医疗方面,项目周边有徐泾卫生医院(公立)、华山医院西院(三甲公立)、远大医疗、德达医疗、新虹桥医学中心等。
【招商虹桥璀璨时代】(项目名:璀璨云邸(二期))
认购时间:2022年11月26日-11月30日
区域、板块:青浦徐泾
户型:90-122平方米公寓
套数:234
均价:63000元/平方米
交通方面,项目距离国家会展中心仅约150米,毗邻轨交2号线徐泾东站(步行距离约1.3公里),周边还有10号/13号/2号线西延伸段在建,未来多条线路,畅达全城。
商业方面,项目步行可达虹桥核心区繁华商圈,虹桥天地、龙湖天街、虹桥汇等体验式购物中心环拥。
【宝地·东郊四季】(项目名:东方别墅)
认购时间:2022年11月26日-11月30日
区域、板块:浦东金桥
户型:139-208平方米叠加、联列
套数:232
均价:131000元/平方米
交通方面,项目位于东郊别墅区板块,内环罗山路高架、龙东高架和中环高架环绕,交通便利。
商业方面,项目周边有长泰广场、张江商业广场等集中商业,且3公里范围内有上海东郊国宾馆和汤臣高尔夫球场。
教育方面,项目周边有平和双语学校、中福会幼儿园、中芯学校、浦东外国语学校东校等知名院校。(实际学区划分以官方公布为准)
医疗方面,项目周边有复旦大学附属华山医院东院,浦东新区妇幼保健院等。
【浦开江南里】(项目名:浦开江南里)
认购时间:2022年11月26日-11月30日
区域、板块:浦东金桥
户型:190-550平方米联列
套数:186
均价:145000元/平方米
交通方面,项目紧邻龙东高架,距离9号线蓝天路站约2公里、2号线张江高科站约1.3公里。
商业方面,项目周边有金桥购物中心、张江商业广场、浦东嘉里城、麦德龙等大型商场,满足日常购物娱乐需求。
教育方面,项目周边还有上海市实验学校东校、上海市进才实验小学,进才实验中学、张江集团学校、耀中国际学校等。(实际学区划分以官方公布为准)
医疗方面,项目周边有上海瑞东医院、上海中医药大学附属曙光医院(东院),还有众多社区卫生服务站等。
获得更多购房资讯,欢迎扫描下方二维码,关注地产新空微信公众号,或加入地产新空“房友俱乐部”讨论区。


来源:周到上海 作者:张自达
