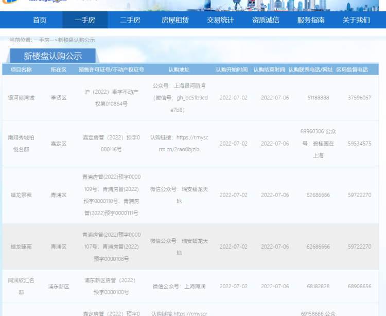
周末5盘全新面市,总计1378套房源 尚昌艳 2022-6-30 来源:周到上海 据网上房地产官方公告称,7月2日将有5盘开启认购,分别是【银河丽湾】(项目名:银河丽湾城)、【碧桂园柏悦翔湾】(南翔秀城柏悦名邸)、【上海蟠龙天地景园】(蟠龙景苑)、【上海蟠龙天地臻园】(蟠龙臻苑)、【同润欣汇名邸】。 截至今日16:00,本月已有44盘公布发布认购提醒,其中32盘已结束认购,7盘正在认购中,5盘即将开启认购。 认购详情如下: 获得更多购房资讯,欢迎扫描下方二维码,关注地产新空微信公众号,或加入地产新空“房友俱乐部”讨论区。 来源:周到上海 作者:尚昌艳 赞一个 (0)