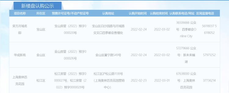
认购提醒 | 又有5盘发布认购公告,楼市小阳春或将到来 尚昌艳 2022-2-18 来源:周到上海 据网上房地产最新消息,新增5盘认购公告,分别为荣万月城名邸、华成新苑、上海奥林匹克花园、花语澜庭和科璟雅居。据了解,新增5盘分属不同区,加之此前发布的中骏·璟荟、云湖壹号、格林云上和复地富顿街区三期,至此2月沪上已有9盘发布认购公告,为即将到来的楼市小阳春奠定基础。 获得更多购房资讯,欢迎扫描下方二维码,关注地产新空微信公众号,或加入地产新空“房友俱乐部”讨论区。 来源:周到上海 作者:尚昌艳 赞一个 (0)