5月25晚间,微信公众号“至道学宫”被平台封禁处理。
腾讯方面称,在微信打击谣言文章的过程中,发现至道学宫公众号曾发布多篇编造整合虚假信息、煽动公众情绪、误导性强的谣言文章,包含如把尸体做成汉堡等惊悚谣言。
根据《微信公众平台运营规则》的相关规定,微信对该公众号进行永久封禁处理。经核实,至道学宫共8个系列相关账号涉及批量发布相关谣言,均进行账号封禁处理。
在微博上,目前仍有名为“至道学宫”的账号”,其所认证的公司为江苏禹锡玄圭建筑规划设计有限公司。
天眼查数据显示,江苏禹锡玄圭建筑规划设计有限公司成立于2017年3月,注册资本1000万元人民币,法定代表人为刘锋,公司经营范围包括建筑工程、园林绿化工程、室内装璜工程设计、施工等,该公司曾用名为“南京贝久门窗有限公司”。

江苏禹锡玄圭建筑规划设计有限公司的最大股东为深圳同道相成教育科技有限公司,持股比例99%,后者则成立于2015年5月,经营范围包括教育项目与教育科研文献的研发、教学产品研发、销售等,由姚玉祥全资持股。
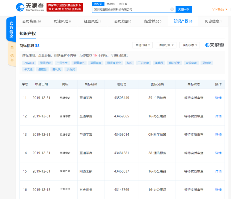
据天眼查,目前,深圳同道相成教育科技有限公司申请了多个商标,包括至道学宫、同道之家、至道读书等。而姚玉祥本人还是上海典则文化发展有限公司的最大股东,持股比例99%。

据了解,在西瓜数据4月公众号原创榜单排名中,至道学宫是第一名。而在它所属的文化行业分类中,它不仅是文化行业第1名,还是文化原创第1名、文化评论第1名、文化赞赏第1名,打败了易中天、十点读书、六神磊磊读金庸、新世相这些很有群众基础的公众号。它的兄弟账号“同道学宫”也“厉害”,头条平均阅读23269,头条平均点赞1287。
来源:周到上海 作者:刘奇涛
