一般来说,上市公司股东户数减少意味着机构或大户的增仓行迹,筹码集中是一些人考量机会的重要因素。但A股股东最“单薄”的公司菲林格尔(603226)近期走势让人倒吸一口凉气:自11月18日触及38.76元的复权历史新高后,其股价从11月21日起连续三天跌停,截至25日收盘仍然有15万元封单位于24.8元的跌停价。“这票看着像庄股。”市场人士称。

临近年底,A股市场风格出现了不少变化,一些此前走势强劲的股票大幅下挫,菲林格尔就是如此。该股今年二级市场表现抢眼:一季度股价随大盘整体反弹上涨25%;在市场震荡的二、三季度在复权后继续上涨了45.21%和33.64%。但11月15日以来其股价开始高位跌落,连收7阴,从最高价38.76几天跌到24.8元,估计还没跌完。
菲林格尔总部在上海市奉贤区林海公路7001号,2017年登陆资本市场,主要从事木地板(主要为强化复合地板、实木复合地板)、橱柜家具的研发、设计、生产及销售,属于建材行业中的地板子行业。财报显示,2019年前三季度,菲林格尔营业收入为5.71亿元,比上年同期下滑8.81%;归属于上市公司股东的净利润为8002.88万元,比上年同期增长2.66%。
与业绩平淡相比,这家公司更为引人关注的是,截至今年三季度末股东仅3258户,是所有上市公司中最“单薄”的。而2018年末公司股东8145户,2019年一季末减为7205户,二季末再次降为4075户,减少43.44%,到三季末仅3258户。

翻阅沪深交易所《股票上市规则》可以发现,除了大家所熟知的因亏损、财务造假等问题予以退市处理外,在交易方面也有强制退市规定:如成交量、股价、股东人数低于某一数值时,将触发强制退市。 比如上交所强制终止上市条件包括:
连续20个交易日(不包含公司股票停牌日)的每日股票收盘价均低于股票面值;
连续120个交易日(不包含公司股票停牌日)实现的累计股票成交量低于500万股;
上市公司股东数量连续20个交易日(不含公司首次公开发行股票上市之日起的20个交易日和公司股票停牌日)每日均低于2000人。
“菲林格尔过去一年股价暴涨,股份集中到快到警戒线了,也是真够狠的。”资深投行人士王骥跃表示。
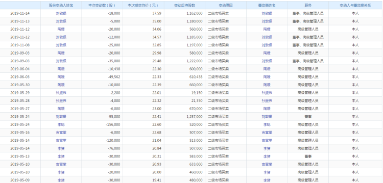
对于股价异动,菲林格尔11月24日晚公告,公司高管刘敦银2019年11月8日-14日期间共减持公司股票6万股;陶媛2019年11月12日减持公司股票2万股。此外,“公司未发现其他可能对公司股价产生较大影响的重大事项。”11月25日晚披露,自2019年5月24日-11月23日期间,公司董事、总裁刘敦银,公司财务总监陶媛通过集中竞价方式分别减持公司19万股、11.6万股,分别占公司总股本的0.13%、0.08%。截至2019年11月25日,刘敦银、陶媛此次减持计划减持时间区间届满,合计套现822万元。
公开信息显示,两人最后减持日为11月14日。其股价大跌是高管高位套现惹的祸?

来源:周到上海 作者:曹西京
