根据网上房地产官方消息显示,今明共三盘开始认购,分别是位于嘉定工业区南门的【星尚·观澜世嘉】,位于松江新城的【中交·松香源著】以及位于奉贤柘林的【中国中铁·世纪尚城】。三盘累计推出逾800套房源,面积跨度从48平方米到134平方米不等,房型涵盖洋房、叠墅等,可满足购房者多能级需求。

【星尚·观澜世嘉】(项目名:观璟华庭)
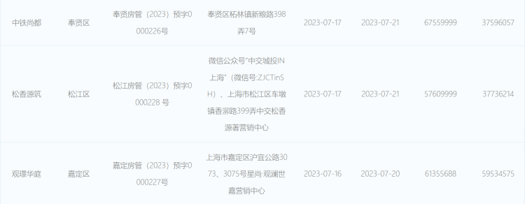
认购时间:2023年7月16日-2023年7月20日
区域、板块:嘉定工业区南门
户型:103-128平方米公寓
套数:282
均价:45200元/平方米
认购金:20万元
社保系数:0.1分/月
交通方面,项目距离G1503绕城高速及S5沪嘉高速的嘉定主城区出入口仅1公里,走沪嘉高速可抵达中环畅达全城,前往真如、五角场以及虹桥主城区等城市CBD非常方便。
商业方面,项目周边商圈环伺,正在建设中的嘉定首座奥特莱斯—砂之船奥特莱斯距离项目仅1.5km,并且距离项目直线约3km范围内,还有嘉定宝龙广场、百联嘉定购物中心、大润发、罗宾森广场、西云楼等大型商圈。
教育方面,距离项目约2.8公里的上海民办华曜嘉定初级中学(原名上海民办华二初级中学)。(具体学区划分以政府实际划分为准)
【中交·松香源著】(项目名:松香源筑)
认购时间:2023年7月17日-2023年7月21日
区域、板块:松江新城
户型:48-88平方米公寓&约117-124平方米叠加
套数:239
均价:36600元/平方米
认购金:30万元
社保系数:0.1分/月
交通方面,项目通勤闵行、大虹桥、徐汇有着得天独厚的优势,项目周边沪昆、沈海等高速环绕,自驾去往莘庄和虹桥站都非常迅捷;项目靠近轨交金山线,3站通达徐汇上海南站,6站直达徐家汇。未来还有轨交23号线(规划中),T3线等提速步入主城。
商业方面,项目1公里范围内坐拥尚优玛特购物广场、华阳市场、好又多超市、联江购物中心、百富茂会员商店等商业设施,生活购物便捷。
教育方面,上海戏剧学院附属松江实验学校位于项目西侧,是九年一贯制学校,以“戏剧+艺术”为特色,由百年老校华阳桥学校与上海戏剧学院合作办学,具有特色教育资源。
【中国中铁·世纪尚城】(项目名:中铁尚都)
认购时间:2023年7月17日-2023年7月21日
区域、板块:奉贤柘林
户型:73-134平方米公寓&叠墅
套数:336
均价:33200元/平方米
认购金:10万元
社保系数:0.1分/月
交通方面,项目拥揽“四纵三横”立体路网,四纵:江海南路、金海公路、沪杭公路、浦卫公路;三横:沪金高速、绕城高速、平庄西路。坐享轨交5号线平庄公路站(近距规划中)及奉贤线,快速辐射全城,出行更从容。
商业方面,项目生活半径内拥享百联商圈、宝龙广场、大润发、人民路商业街等商业体,尽享璀璨城市生活;约3.6万方邻里中心及综合配套服务中心,可以充分体验日常消费乐趣。漫步繁华,尽享欢乐休闲盛宴。
教育方面,项目毗邻奉贤区新寺学校、蒲公英小学、柘林幼儿园等多梯队教育资源。其中的奉贤区新寺学校,更是九年一贯制教学,同时,项目周边还规划有多块教育用地,小学至初中教育一步到位。
获得更多购房资讯,欢迎扫描下方二维码,加入地产新空“房友俱乐部”讨论区。

来源:周到上海 作者:谈以暄
